《Prometheus监控技术与实践》监控实战系列 14:生产部署——从存储到高可用集群全解
本文聚焦Prometheus监控系统生产部署全流程,从官方最佳实践原则切入,深度拆解本地/远端存储架构、联邦集群与Thanos集群搭建、Alertmanager高可用实现,帮助读者掌握生产级Prometheus集群的设计、部署与运维核心能力。
本篇核心收获
- 掌握Prometheus生产部署的官方最佳实践,规避指标设计、告警、PushGateway使用等核心陷阱
- 理解Prometheus本地存储V3引擎的底层原理与容量规划方法,以及远端存储的对接流程
- 学会搭建Prometheus联邦集群,解决大规模监控的分片与聚合问题
- 掌握Thanos集群部署与配置方法,实现监控数据的全局视图、长期存储与高可用
- 理解Alertmanager Gossip机制原理,搭建无单点故障的告警高可用架构
14.1 最佳实践原则
Prometheus官网及创始人Julius Volz提出的最佳实践,是生产环境落地的核心准则,覆盖指标设计、可视化、度量类型、告警、PushGateway使用等关键维度。
14.1.1 指标与标签的命名
- 指标命名需符合数据模型有效字符规范,需包含与业务域相关的应用前缀(命名空间)。
- 同一指标在所有标签维度上的逻辑测量内容需一致(如请求耗时、传输字节数等)。
- 标签用于区分测量对象特征,禁止将标签名称嵌入度量名称(避免冗余与存储膨胀)。
- 指标单位优先使用国际基本单位(无硬编码,但需保证兼容性)。
14.1.2 控制台和仪表盘
- 聚焦故障模式设计仪表盘,而非展示所有数据;按服务拆分仪表盘(如单服务的延迟/错误指标),支持从顶层钻取到具体服务。
- 核心限制:单控制台图形≤5个、单图表线条≤5个、控制台模板右侧表格数据项≤30个。
14.1.3 测量仪表
- 同一文件实例化度量类,便于从控制台告警快速定位到代码层错误。
- 按监控目的将服务分为在线服务、离线处理、批处理作业三类;同时需监控库接口、日志、失效、线程池、缓存、采集器等核心组件。
14.1.4 直方图和摘要
直方图和摘要用于跟踪请求耗时、响应大小等连续值,均会记录观测数量(计数器,只增不减)和观测值总和(计数器,非负场景);若观测负值(如温度),总和可能下降,无法使用rate函数。 核心经验法则:
- 需要聚合场景选直方图;
- 已知值的范围/分布选直方图,需精确分位数选摘要。
14.1.5 告警
- 告警需简洁、准确,配套清晰的控制台便于根因定位。
- 确保Prometheus、Alertmanager、PushGateway等监控基础设施自身可用(如黑盒测试全链路:Pushgateway→Prometheus→Alertmanager→email)。
- 优先对根因告警以减少噪声,结合白盒监控(内部)与黑盒监控(外部),捕捉隐蔽问题并作为容灾备用手段。
14.1.6 使用PushGateway
PushGateway是适配无法被Pull的作业的中介服务,使用时需规避三大陷阱:
- 多实例共用一个PushGateway时,易成为单点故障和性能瓶颈;
- Prometheus基于Up指标的健康监控失效;
- PushGateway会永久暴露数据,需手动删除才会清理。
模块小结:本模块梳理了Prometheus生产使用的六大核心最佳实践,覆盖指标设计、可视化、度量类型、告警、PushGateway等维度,是规避生产陷阱的基础准则。
14.2 数据存储
生产级Prometheus的核心基础是对存储的深度理解,其存储分为本地存储(高性能)和远端存储(大容量、可扩展)两类,需根据场景选择适配方案。
14.2.1 本地存储
Prometheus本地存储历经V1(2012)、V2(2015)、V3(2017)三个版本,V2及以上借鉴Facebook Gorilla设计思想,针对时序数据特征做了极致优化。
1. 高效的本地存储模型
时序数据核心特征:
- 相邻数据点时间戳差值相对固定,波动范围小;
- 相邻数据点值变化幅度小,甚至无变化;
- 热数据(近期数据)查询频率远高于冷数据,越新的数据热度越高。
Gorilla压缩算法原理:
- 时间戳:两次去差值压缩(如t(N-2)=02:00:00、t(N-1)=02:01:02、t(N)=02:02:02,第一次差值为62、60,第二次差值为-2),固定采样频率下差值几乎为0,大幅节省空间;
- 指标值:相邻值异或操作,若值不变则异或结果为0,仅需存储0(监控数据变化小,异或结果通常极小)。
V2版本核心问题:
- 每个时序对应10MB文件,易耗尽文件系统Inode,随机读写导致磁盘性能下降(SSD存在写放大);
- 容器等短生命周期对象会引发“时序流失”,时间序列数量线性增长,内存压力剧增;
- 容量不可预测,历史数据查询需全量加载到内存,易触发OOM导致Prometheus进程被杀死。
V3版本(tsdb)核心优化(保留高压缩比分块存储,解决V2核心问题):
- 多块合并到单个文件,新增index索引文件,避免大量小文件;
- 引入WAL(写入日志)机制,防止数据丢失;
- 按时间水平拆分存储空间,每个时间区间为独立数据库;
- 单文件分块最大512MB,规避SSD写效率问题;
- 删除数据直接删除分区,查询时懒加载数据(避免OOM)。

V3存储结构:
- wal目录:存储监控数据WAL,确保进程崩溃/重启后数据恢复;
- 按2小时时间窗口分块(Block),每个块包含采样数据(chunks)、元数据(meta.json)、索引文件(index);
- 实时采样数据暂存内存,删除操作记录在tombstone文件;
- 块以独立目录存储,查询时仅加载目标时间范围的块,提升效率。

V3数据删除逻辑:若块的时间范围超出配置的保留期,直接丢弃该块即可,逻辑简化且高效。

2. 本地存储配置
- 配置方式:通过命令行参数修改本地存储参数;
- 容量规划公式:需要磁盘容量=保留时间(秒)×每秒采样数×采样大小(字节数)(单采样约1~2字节);
- 减少磁盘占用的手段:① 减少时间序列数量(效果更显著);② 增加采样间隔。
3. 从失效中恢复
- 直接方案:停止Prometheus,删除data目录所有数据(丢失全部历史数据);
- 精细化方案:仅删除失效的块目录(丢失该块2小时的监控数据)。
模块小结:本模块拆解了Prometheus本地存储V3引擎的底层原理、容量规划与故障恢复方法,V3通过分块合并、索引、WAL等机制解决了V2的核心痛点,是单节点高性能存储的核心保障。
14.2.2 远端存储
本地存储无法解决长期数据保存、大规模扩展问题,Prometheus通过remote_read/remote_write标准接口对接第三方存储(远端存储),保持自身架构简洁。
1. 远端存储读/写结构
- 核心组件:适配器(Adaptor),作为Prometheus与第三方存储的中介;
- 远端写流程:Prometheus将样本数据通过HTTP发送给适配器,适配器转发至第三方存储(如InfluxDB、Cortex等);
- 远端读流程:Prometheus向适配器发起查询请求,适配器从第三方存储获取数据并转换为Prometheus样本格式返回,本地再通过PromQL二次处理。

注意:规则文件处理、Metadata API仅基于本地存储完成,远端读不影响这两类操作。
2. 设置配置文件
需在Prometheus配置文件中添加remote_write和remote_read节点,核心配置项包括URL(适配器地址)、认证、超时、代理等,标准配置模板如下:
remote_write:
url: <string>
[ remote_timeout: <duration> | default = 30s ]
write_relabel_configs:
[ - <relabel_config>... ]
basic_auth:
[ username: <string> ]
[ password: <string> ]
[ bearer_token: <string> ]
[ bearer_token_file: /path/to/bearer-token/file ]
tls_config:
[ <tls_config> ]
[ proxy_url: <string> ]
remote_read:
url: <string>
required_matchers:
[ <labelname>: <labelvalue>... ]
[ remote_timeout: <duration> | default = 30s ]
[ read_recent: <boolean> | default = false ]
basic_auth:
[ username: <string> ]
[ password: <string> ]
[ bearer_token: <string> ]
[ bearer_token_file: /path/to/bearer-token/file ]
tls_config:
[ <tls_config> ]
[ proxy_url: <string> ]3. 使用InfluxDB作为Remote Storage
以InfluxDB为例,完整对接流程如下:
步骤1:启动InfluxDB服务(Docker Compose)
version: '2'
services:
influxdb:
image: influxdb:1.3.5
command: -config /etc/influxdb/influxdb.conf
ports:
- "8086:8086"
environment:
- INFLUXDB_DB=prometheus
- INFLUXDB_ADMIN_ENABLED=true
- INFLUXDB_ADMIN_USER=admin
- INFLUXDB_ADMIN_PASSWORD=admin
- INFLUXDB_USER=prom
- INFLUXDB_USER_PASSWORD=prom启动命令:
docker-compose up -d
docker ps # 验证容器运行状态步骤2:部署Remote Storage Adapter
# 获取源码并编译
go get github.com/prometheus/prometheus/documentation/examples/remote_storage/remote_storageadapter
# 启动适配器(指定InfluxDB认证信息)
INFLUXDB_PW=prom $GOPATH/bin/remote_storage_adapter -influxdb.url=http://localhost:8086 -influxdb.username=prom -influxdb.database=prometheus -influxdb.retention-policy=autogen步骤3:配置Prometheus对接适配器
修改prometheus.yml,添加远端读写配置:
remote_write:
- url: "http://localhost:9201/write"
remote_read:
- url: "http://localhost:9201/read"步骤4:验证数据写入
重启Prometheus后,进入InfluxDB容器验证数据:
docker exec -it <容器ID> influx
Connected to http://localhost:8086 version 1.3.5
InfluxDB shell version: 1.3.5
> auth
username: prom
password: prom
> use prometheus
> SHOW MEASUREMENTS # 可看到Prometheus指标(如go_gc_duration_seconds等)步骤5:验证数据恢复
停止Prometheus → 删除本地data目录 → 重启Prometheus → 通过UI查询历史数据,确认可从InfluxDB读取。
支持的远端存储列表:
| 存储服务 | 支持模式 |
|---|---|
| AppOptics | write |
| Chronix | write |
| Cortex | read/write |
| CrateDB | read/write |
| Gnocchi | write |
| Graphite | write |
| InfluxDB | read/write |
| OpenTSDB | write |
| PostgreSQL/TimescaleDB | read/write |
| SignalFx | write |
模块小结:本模块讲解了远端存储的架构、配置与InfluxDB对接实操,通过远端存储可解决Prometheus数据持久化与扩展问题,适配大规模、长周期监控场景。
14.3 构建联邦集群系统
Prometheus设计定位为“简洁、可组合”,原生不支持分布式存储、全局视图、多租户,联邦集群是解决大规模监控分片与聚合的核心方案。
14.3.1 联邦集群核心设计
- 适用场景:单Prometheus可处理百万级时序,但大规模场景需按数据中心/集群分片部署;
- 架构:每个数据中心部署Prometheus Lx(采集本地数据),中心节点Prometheus Hx通过
/federate接口聚合Lx数据。

14.3.2 联邦集群配置
中心Prometheus Hx需配置采集任务,从Lx节点拉取数据,核心配置如下:
scrape_configs:
- job_name: 'federate'
scrape_interval: 15s
honor_labels: true
metrics_path: '/federate'
params:
'match[]':
- '{job="prometheus"}'
- '{__name__=~"job:.*"}'
- '{__name__=~"node.*"}'
static_configs:
- targets:
- '192.168.0.11:9090' # Lx节点1
- '192.168.0.12:9090' # Lx节点2核心参数说明:
match[]:瞬时向量选择器,指定需拉取的时序(支持多个);honor_labels: true:忽略采集数据的标签冲突,false则将冲突标签重命名为exported_xxx。
14.3.3 联邦模式分类
- 网格模式:同一数据中心内,每个Prometheus监控其他Prometheus;
- 上下级模式:上级Prometheus聚合数据中心级别的Prometheus数据。
14.3.4 联邦集群局限性
- 配置复杂,无统一全局视图;
- 历史数据存储仍依赖远端存储,无原生降准采样能力;
- 本质是实时监控系统,分布式能力非原生设计。
模块小结:本模块讲解了联邦集群的架构、配置与局限性,通过分片+聚合解决了大规模监控的采集压力,但未解决全局视图与长期存储核心问题。
14.4 Thanos集群解决方案
Thanos是CNCF沙箱项目,与Prometheus无缝集成,解决联邦集群的全局视图、高可用、长期存储等核心痛点,是生产级大规模Prometheus集群的主流方案。
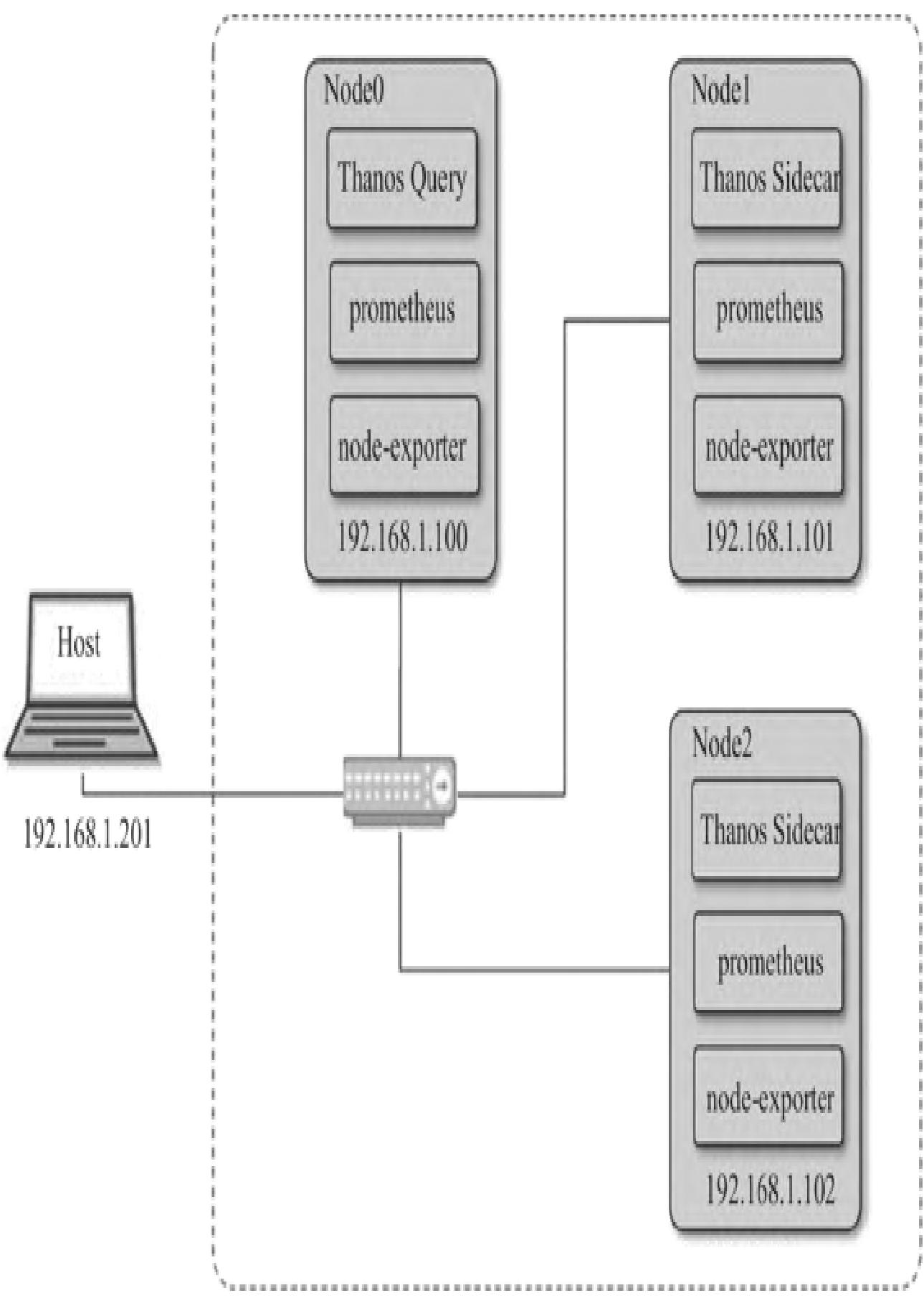
14.4.1 Thanos集群架构
Thanos由Sidecar、Querier、Store、Compactor、Ruler等组件构成,核心能力包括全局视图、长期存储、压缩降准、统一规则管理。

1. 全局视图
- Sidecar:部署在Prometheus节点,通过gRPC的Store API暴露本地数据,支持按标签/时间段筛选;
- Querier:无状态、可横向扩展,通过Gossip协议发现Sidecar/Store组件,聚合数据并去重,提供全局查询入口。
2. 长期保留数据
- Sidecar监听Prometheus数据目录,将2小时粒度的不可变数据块上传至对象存储(S3/阿里云OSS等);
- Store Gateway:作为对象存储的检索代理,实现Store API,按需加载数据块索引,避免全量下载,查询效率接近本地SSD。
3. 压缩和降准采样
- Compactor组件:对对象存储中的历史数据执行Prometheus本地压缩逻辑,聚合序列数据并降准采样,提升查询效率,无需用户额外配置。
4. 记录规则
- Ruler组件:统一管理告警/记录规则,基于Querier执行规则并触发告警,解决规则分散管理问题。
14.4.2 部署Thanos监控集群
1. 准备环境
- 基础环境:CentOS 7.5 x64、node_exporter-0.18.1、prometheus-2.14.0、thanos-0.8.1;
- 前置条件:Prometheus v2.2.1+、Go 1.10+、可选对象存储;
- 测试环境:两台主机(192.168.1.101/102),模拟多Prometheus节点。

2. 部署集群
步骤1:配置Prometheus
修改prometheus.yml的global节点,添加external_labels(用于Thanos去重):
global:
scrape_interval: 15s
evaluation_interval: 15s
external_labels:
monitor: 'monitor101' # 102节点对应monitor102
alerting:
# 原有配置
scrape_configs:
- job_name: 'prometheus'
static_configs:
- targets: ['192.168.1.101:19090','192.168.1.102:19090']
- job_name: 'node'
static_configs:
- targets: ['192.168.1.101:9100','192.168.1.102:9100']启动Prometheus和node_exporter(两台主机均执行)。
步骤2:启动Thanos组件
两台主机均执行以下命令启动Sidecar和Querier:
# 启动Sidecar
nohup ./thanos sidecar \
--tsdb.path /var/prometheus/data \
--prometheus.url http://192.168.1.102:9090 \ # 替换为当前主机IP
--http-address 0.0.0.0:19191 \
--grpc-address 0.0.0.0:19091 &
# 启动Querier
nohup ./thanos query \
--http-address 0.0.0.0:29090 \
--grpc-address 0.0.0.0:29091 \
--query.replica-label monitor \ # 基于external_labels去重
--store 192.168.1.101:19091 \
--store 192.168.1.102:19091 &步骤3:开放防火墙端口
开放19191、19091、29090、29091端口,确保组件间通信。
3. 数据验证
- 访问任意节点的
http://<IP>:29090,打开Thanos Query Web UI(与Prometheus UI类似,新增deduplication/partial response去重选项); - 验证指标一致性:两台节点的Query UI展示的指标数据完全一致;
- 可选:部署Nginx转发,将Grafana数据源指向Nginx,实现可视化展示。

14.4.3 Thanos远程存储
Thanos通过Sidecar将Prometheus数据写入对象存储(AWS S3/阿里云OSS等),实现数据长期保留,对Prometheus性能影响极小。
1. 配置Sidecar对接对象存储
启动Sidecar时添加对象存储配置文件参数:
$ thanos sidecar \
--tsdb.path /var/prometheus \ # Prometheus TSDB目录
--prometheus.url "http://localhost:9090" \ # Prometheus地址
--objstore.config-file bucket_config.yaml \ # 存储配置文件2. 阿里云OSS配置示例
bucket_config.yaml(Aliyun OSS):
type: ALIYUNOSS
config:
endpoint: "oss-cn-beijing.aliyuncs.com"
bucket: "promstore"
access_key_id: "LTAI****Z9****9bc8cS"
access_key_secret: "6bCKg****xcU****ws****wb"3. 启动Store组件并验证
- 启动Store组件(需指定相同的对象存储配置文件);
- 验证数据上传:
thanos bucket ls --objstore.config-file=/etc/thanos/oss.yml; - 查看对象存储:数据块会自动上传至阿里云OSS,完成长期存储。

模块小结:本模块完整拆解了Thanos集群的架构、部署、数据验证与远程存储配置,Thanos解决了Prometheus联邦集群的核心痛点,是生产级高可用、长存储的最优解。
14.5 Alertmanager高可用
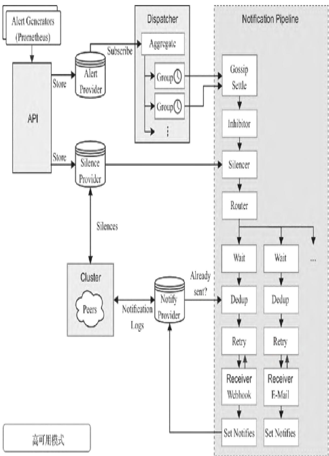
Prometheus Server多实例部署可解决采集高可用,但单Alertmanager存在单点故障,需基于Gossip机制搭建Alertmanager高可用集群。
14.5.1 告警处理基础流程
- Prometheus多实例部署:配置完全相同(Job/告警规则),避免采集单点故障;
- Alertmanager分组机制:自动合并多Prometheus实例发送的相同告警,避免重复通知。

14.5.2 单点问题与Gossip机制
- 单Alertmanager风险:失效后告警全链路中断;
- 多Alertmanager无协调问题:重复发送告警通知;
- Gossip机制:Alertmanager集群间通过Gossip协议同步告警状态,确保相同告警仅发送一次通知。

14.5.3 Gossip机制下的告警处理流程
Alertmanager通过流水线处理告警,Gossip机制确保集群内告警状态一致,最终仅触发一次有效通知。

模块小结:本模块讲解了Alertmanager高可用的核心——Gossip机制,通过该机制解决多实例告警重复问题,实现无单点故障的告警体系。
本篇核心知识点速记
- 生产部署最佳实践:指标命名需带应用前缀、仪表盘聚焦故障模式、直方图/摘要按聚合/分位数场景选择、告警优先根因、PushGateway规避单点/数据残留问题;
- 存储层:本地存储V3通过分块合并/索引/WAL解决V2痛点,容量规划需计算保留时间×每秒采样数×单采样大小;远端存储通过
remote_read/write对接第三方,如InfluxDB; - 集群层:联邦集群解决分片采集,Thanos解决全局视图/长期存储/高可用,核心组件包括Sidecar(暴露数据)、Querier(聚合查询)、Store Gateway(对象存储检索);
- 告警高可用:Alertmanager基于Gossip机制同步状态,避免多实例重复告警,实现无单点故障;
- 实操核心:Thanos部署需配置Prometheus external_labels(去重),对接对象存储需配置Sidecar/Store组件,验证数据一致性与长期存储。
